摘要:兄弟们,最近荣裕合疯狂投诉震哥文章,有的阅读量才3个就投诉上来了,这是不是做贼心虚。接下来...

兄弟们,最近荣裕合疯狂投诉震哥文章,有的阅读量才3个就投诉上来了,这是不是做贼心虚。接下来震哥来扒一下荣裕合的公司布局,看看什么国资背景,50亿实缴的公司是不是真的。
先来看看号称国资背景的深圳荣裕合数字信息有限公司,实际的社保人数才1个,妥妥的空壳公司,才一个员工。路边开个奶茶店都不止一个员工交社保,这个公司到底是就一个员工还是不给员工交社保呢,震哥提醒,企业不给员工交社保是违法的!

再来去查查他是不是真的国资公司,通过系统根本查不到这个公司是国企,很显然就是假的,荣裕合的上级公司中能华安实际上一个员工都没有,社保人数为0,这不就是空壳公司吗?还41条风险提示,你一个员工都没有的公司,怎么这么多风险,到底是做了什么伤天害理的事?



再来看看号称50亿实缴的公司,浙江珍稀葆生物科技有限公司,实际参保人数1人,妥妥的又是一个空壳公司。再说说50亿实缴怎么回事,这实缴一分钱都没看到,全是知识产权,最多花30万全部弄软著,包装一下就能搞定。震哥提醒,这就是全靠包装,实际这样操作有很大的风险。

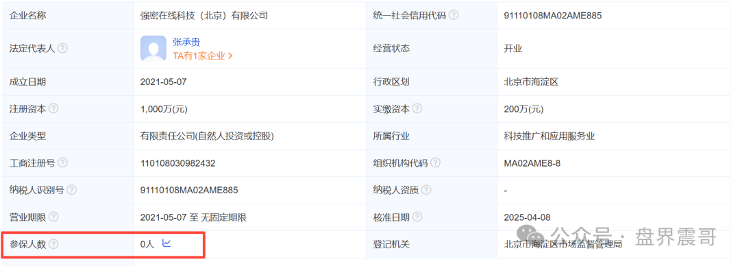
荣裕合持股的强密在线科技(北京)有限公司,参保人数还是0,意味着这公司一个人都没有,就是个空壳公司。

看看荣裕合(广东)控股有限公司,怎么有点不对劲,为什么这个公司的法人是张承贵,不是游优呢,游优是真名吗?怎么还和号称国资背景的法人练锦鸿不是一个名呢?这不是纯闹吗?社保人数都没有公布,估计又是0。又是空壳公司。

最后震哥提醒,如果你仍然觉得这是正规的,请拨打免费热线96110咨询,或者去当地公安局咨询,这才是最有利的证明,不然像鑫慷嘉一样,没崩盘之前都好好的,一下子就直接变天!!
以下内容为赞助商提供

网赚项目交流+骗局曝光群
扫码进群,获取今日项目最新消息

TG:@ue211






